- March Pump Less Motor Information Sheet 7.27.2022
- Drive Magnet Positions
- Torque Values for March Pumps
Video:
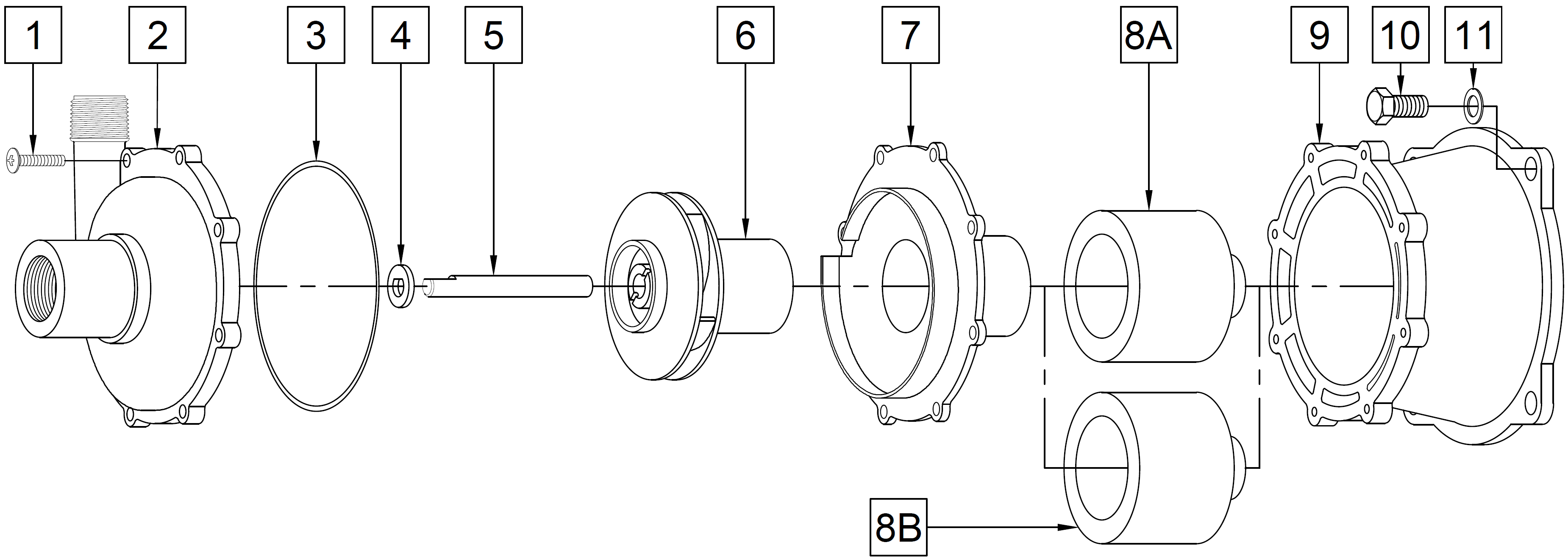
TE-5C-MD Pump Less Motor

| Item | Part Number | Qty | Description |
|---|---|---|---|
| Option 1 | 0150-0224-0100 | 1 | TE-5C-MD Pump Less Motor (NEMA Motor Bracket and NEMA Drive Magnet) Items: 1A, 2, 3, 4, 5, 6, 7, 8A, 9A, 10, 11A |
| Option 2 | 0150-0225-0100 | 1 | TE-5C-MD Pump Less Motor (IEC Motor Bracket and NEMA Drive Magnet) Items: 1B, 2, 3, 4, 5, 6, 7, 8A, 9B, 10, 11B |
| Option 3 | 0150-0226-0100 | 1 | TE-5C-MD Pump Less Motor (NEMA Motor Bracket and IEC Drive Magnet) Items: 1A, 2, 3, 4, 5, 6, 7, 8B, 9A, 10, 11A |
| Option 4 | 0150-0227-0100 | 1 | TE-5C-MD Pump Less Motor (IEC Motor Bracket and IEC Drive Magnet) Items: 1B, 2, 3, 4, 5, 6, 7, 8B, 9B, 10, 11B |
| 1A | 0150-0021-1000 | 7 | #8-32 x 1-3/4” Long Screw (Stainless) |
| 1B | Not Supplied by March | 7 | M4-0.7 X 45 Long Screw (Stainless) for IEC Motor |
| 2 | 0150-0032-1000 | 1 | Cover with 1” FPT Inlet (Polypropylene) |
| 3 | 0750-0986-1000 | 1 | 0.078” CS x 2.834” ID “O” Ring (Viton) |
| 4 | 0130-0028-1000 | 1 | Thrust Washer (Ceramic) |
| 5 | 0130-0024-1000 | 1 | Shaft (Ceramic) |
| 6 | 0150-0098-0200 | 1 | Encapsulated Impeller (Polypropylene) |
| 7 | 0150-0031-0100 | 1 | Rear Housing with 1/2" MPT Outlet & Ceramic Thrust Washer (Polypropylene) |
| 8A | 0150-0176-0300 | 1 | Drive Magnet (0.375 Inch Bore) for NEMA Motor |
| 8B | 0150-0178-0200 | 1 | Drive Magnet (9MM) for IEC Motor |
| 9A | 0150-0050-1000 | 4 | #10-32 x 3/4" Long Screw (Stainless) |
| 9B | Not Supplied by March | 4 | M5-.08 x 16 Long Screw (Stainless) for IEC Motor |
| 10 | 0150-0051-1000 | 4 | #10 Washer (Stainless) |
| 11A | 0150-0070-0100 | 1 | NEMA Motor Bracket (Plastic) |
| 11B | 0150-0177-1000 | 1 | IEC Motor Bracket (Plastic) |
| NEMA Motor | Not Supplied by March | 1 | 42/48C Hybrid Frame with Feet, 1.093 Inch Length and 0.375 Inch Diameter Shaft |
| IEC Motor | Not Supplied by March | 1 | 56 Frame, B3 Feet and B14 Face, 27.7MM Length and 9MM Diameter Shaft |
| Minimum HP: 0.2 for 50Hz and 60Hz, Minimum KW 0.149 for 50Hz and 60Hz | |||
| Motor should be soft starting. |
TE-5K-MD Pump Less Motor

| Item | Part Number | Qty | Description |
|---|---|---|---|
| Option 1 | 0150-0228-0100 | 1 | TE-5K-MD Pump Less Motor (NEMA Motor Bracket and NEMA Drive Magnet) Items: 1A, 2, 3, 4, 5, 6, 7, 8A, 9A, 10, 11A |
| Option 2 | 0150-0229-0100 | 1 | TE-5K-MD Pump Less Motor (IEC Motor Bracket and NEMA Drive Magnet) Items: 1B, 2, 3, 4, 5, 6, 7, 8A, 9B, 10, 11B |
| Option 3 | 0150-0230-0100 | 1 | TE-5K-MD Pump Less Motor (NEMA Motor Bracket and IEC Drive Magnet) Items: 1A, 2, 3, 4, 5, 6, 7, 8B, 9A, 10, 11A |
| Option 4 | 0150-0231-0100 | 1 | TE-5K-MD Pump Less Motor (IEC Motor Bracket and IEC Drive Magnet) Items: 1B, 2, 3, 4, 5, 6, 7, 8B, 9B, 10, 11B |
| 1A | 0150-0021-1000 | 7 | #8-32 x 1-3/4” Long Screw (Stainless) |
| 1B | Not Supplied by March | 7 | M4-0.7 X 45 Long Screw (Stainless) for IEC Motor |
| 2 | 0150-0124-1000 | 1 | Cover with 1” FPT Inlet (Glass Filled Kynar) |
| 3 | 0750-0986-1000 | 1 | 0.078” CS x 2.834” ID “O” Ring (Viton) |
| 4 | 0130-0028-1000 | 1 | Thrust Washer (Ceramic) |
| 5 | 0130-0024-1000 | 1 | Shaft (Ceramic) |
| 6 | 0150-0125-0200 | 1 | Impeller (Glass Filled Kynar) |
| 7 | 0150-0123-0100 | 1 | Rear Housing with 1/2" MPT Outlet & Ceramic Thrust Washer (Glass Filled Kynar) |
| 8A | 0150-0176-0300 | 1 | Drive Magnet (0.375 Inch Bore) for NEMA Motor |
| 8B | 0150-0178-0200 | 1 | Drive Magnet (9MM) for IEC Motor |
| 9A | 0150-0050-1000 | 4 | #10-32 x 3/4" Long Screw (Stainless) |
| 9B | Not Supplied by March | 4 | M5-.08 x 16 Long Screw (Stainless) for IEC Motor |
| 10 | 0150-0051-1000 | 4 | #10 Washer (Stainless) |
| 11A | 0150-0070-0100 | 1 | NEMA Motor Bracket (Plastic) |
| 11B | 0150-0177-0100 | 1 | IEC Motor Bracket (Plastic) |
| NEMA Motor | Not Supplied by March | 1 | 42/48C Hybrid Frame with Feet, 1.093 Inch Length and 0.375 Inch Diameter Shaft |
| IEC Motor | Not Supplied by March | 1 | 56 Frame, B3 Feet and B14 Face, 27.7MM Length and 9MM Diameter Shaft |
| Minimum HP: 0.2 for 50Hz and 60Hz, Minimum KW 0.149 for 50Hz and 60Hz | |||
| Motor should be soft starting. |
TE-5.5C-MD Pump Less Motor

| Item | Part Number | Qty | Description |
|---|---|---|---|
| Option 1 | 0151-0103-0100 | 1 | TE-5.5C-MD Pump Less Motor (NEMA Motor Bracket and NEMA Drive Magnet) Items: 1, 2, 3, 4, 5, 6, 7, 8A, 9, 10, 11 |
| 1 | 0135-0180-1000 | 8 | #10-32 x 1” Long Screw (Stainless) |
| 2 | 0151-0027-1000 | 1 | Front Housing with 1” FPT Inlet & 3/4" MPT Outlet (Polypropylene) |
| 3 | 0153-0015-1000 | 1 | 3/32" CS x 4-7/16” ID “O” Ring (Viton) |
| 4 | 0155-0009-1000 | 1 | Thrust Washer (Ceramic) |
| 5 | 0153-0007-1000 | 1 | Shaft (Ceramic) |
| 6 | 0151-0029-0500 | 1 | Impeller (Polypropylene) |
| 7 | 0151-0028-0100 | 1 | Rear Housing with Ceramic Thrust Washer (Polypropylene) |
| 8A | 0151-0101-0100 | 1 | Drive Magnet (0.625 Inch Bore) for NEMA Motor *This Drive Magnet will not fit on motor supplied by March |
| 8B | 0151-0061-0200 | 1 | Drive Magnet (0.375 Inch Bore) for NEMA Motor *This Drive Magnet is used when the motor is supplied by March |
| 9 | 0151-0090-0100 | 1 | NEMA Motor Bracket (Plastic) |
| 10 | 0155-0017-1000 | 4 | 3/8"-16 x 3/4" Long Screw (Stainless) |
| 11 | 0155-0019-1000 | 4 | 3/8" ID x 5/8" OD Washer (Stainless) |
| NEMA Motor | Not Supplied by March | 1 | 56C with Feet, 0.88 Inch Shaft Length and 0.625 Inch Diameter |
| Minimum HP: 0.33 for 50Hz and 60Hz, Minimum KW 0.246 for 50Hz and 60Hz | |||
| Motor should be soft starting. |
TE-5.5K-MD Pump Less Motor
| Item | Part Number | Qty | Description |
|---|---|---|---|
| Option 1 | 0151-0104-0100 | 1 | TE-5.5K-MD Pump Less Motor (NEMA Motor Bracket and NEMA Drive Magnet) Items: 1, 2, 3, 4, 5, 6, 7, 8A, 9, 10, 11 |
| 1 | 0135-0180-1000 | 8 | #10-32 x 1” Long Screw (Stainless) |
| 2 | 0151-0044-1000 | 1 | Front Housing with 1” FPT Inlet & 3/4" MPT Outlet (Glass Filled Kynar) |
| 3 | 0153-0015-1000 | 1 | 3/32" CS x 4-7/16” ID “O” Ring (Viton) |
| 4 | 0155-0009-1000 | 1 | Thrust Washer (Ceramic) |
| 5 | 0153-0007-1000 | 1 | Shaft (Ceramic) |
| 6 | 0151-0046-0300 | 1 | Impeller (Glass Filled Kynar) |
| 7 | 0151-0045-0100 | 1 | Rear Housing with Ceramic Thrust Washer (Glass Filled Kynar) |
| 8A | 0151-0101-0100 | 1 | Drive Magnet (0.625 Inch Bore) for NEMA Motor *This Drive Magnet will not fit on motor supplied by March |
| 8B | 0151-0061-0200 | 1 | Drive Magnet (0.375 Inch Bore) for NEMA Motor *This Drive Magnet is used when the motor is supplied by March |
| 9 | 0151-0090-0100 | 1 | NEMA Motor Bracket (Plastic) |
| 10 | 0155-0017-1000 | 4 | 3/8"-16 x 3/4" Long Screw (Stainless) |
| 11 | 0155-0019-1000 | 4 | 3/8" ID x 5/8" OD Washer (Stainless) |
| NEMA Motor | Not Supplied by March | 1 | 56C with Feet, 0.88 Inch Shaft Length and 0.625 Inch Diameter |
| Minimum HP: 0.33 for 50Hz and 60Hz, Minimum KW 0.246 for 50Hz and 60Hz | |||
| Motor should be soft starting. |
TE-6P-MD Pump Less Motor

| Item | Part Number | Qty | Description |
|---|---|---|---|
| Option 1 | 0153-0099-0100 | 1 | TE-6P-MD Pump Less Motor (NEMA Motor Bracket and NEMA Drive Magnet) Items: 1A, 2, 3, 4, 5, 6, 7, 8, 9A, 10A, 11A, 12A |
| Option 2 | 0153-0100-0100 | 1 | TE-6P-MD Pump Less Motor (IEC Motor Bracket and NEMA Drive Magnet) Items:1B, 2, 3, 4, 5, 6, 7, 8, 9A, 10B, 12B |
| Option 3 | 0153-0101-0100 | 1 | TE-6P-MD Pump Less Motor (NEMA Motor Bracket and IEC Drive Magnet) Items: 1A, 2, 3, 4, 5, 6, 7, 8, 9B, 10A, 11A, 12A |
| Option 4 | 0153-0102-0100 | 1 | TE-6P-MD Pump Less Motor (IEC Motor Bracket and IEC Drive Magnet) Items: 1B, 2, 3, 4, 5, 6, 7, 8, 9B, 10B, 12B |
| 1A | 0153-0064-1000 | 6 | 1/4"-20 x 1-3/4" Long Screw (Stainless) |
| 1B | Not Supplied by March | 6 | M6 x 40 Screw |
| 2 | 0155-0021-1000 | 1/4" ID x 1/2" OD Washer (Stainless) | |
| 3 | 0153-0052-1000 | 1 | Front Housing with 1” FPT Inlet & 3/4" MPT Outlet (Polypropylene) |
| 4 | 0153-0015-1000 | 1 | 3/32" CS x 4-7/16” ID “O” Ring (Viton) |
| 5 | 0155-0009-1000 | 1 | Thrust Washer (Ceramic) |
| 6 | 0153-0007-1000 | 1 | Shaft (Ceramic) |
| 7 | 0153-0003-0400 | 1 | Impeller with Ryton/Teflon/Carbon Bushing (Polypropylene) |
| 8 | 0153-0072-0100 | 1 | Rear Housing with Ceramic Thrust Washer (Polypropylene) |
| 9A | 0153-0035-0100 | 1 | Drive Magnet (0.625 Inch Bore) for NEMA Motor |
| 9B | 0153-0035-0200 | 1 | Drive Magnet (14 MM Bore) for IEC Motor |
| 10A | 0155-0017-1000 | 4 | 3/8-16 x 3/4" Long Screw (Stainless) |
| 10B | Not Supplied by March | 4 | M6 x 16 Screw |
| 11A | 0155-0019-1000 | 4 | 3/8" ID x 5/8" OD Washer (Stainless) |
| 12A | 0153-0147-0100 | 1 | NEMA Motor Bracket (Noryl) |
| 12B | 0153-0071-1000 | 1 | IEC Motor Bracket (Plastic) |
| NEMA Motor | Not Supplied by March | 1 | 56C with Feet, 1.38 Inch Shaft Length and 0.625 Inch Diameter |
| IEC Motor | Not Supplied by March | 1 | 71 Frame, B3 Feet and B14 Face, 35MM Shaft Length and 14MM Diameter |
| Minimum HP: 0.5 for 50Hz and 60Hz, Minimum KW 0.372 for 50Hz and 60Hz | |||
| Motor should be soft starting. |
TE-6K-MD Pump Less Motor

| Item | Part Number | Qty | Description |
|---|---|---|---|
| Option 1 | 0153-0103-0100 | 1 | TE-6K-MD Pump Less Motor (NEMA Motor Bracket and NEMA Drive Magnet) Items: 1A, 2, 3, 4, 5, 6, 7, 8, 9A, 10A, 11A, 12A |
| Option 2 | 0153-0104-0100 | 1 | TE-6K-MD Pump Less Motor (IEC Motor Bracket and NEMA Drive Magnet) Items: 1B, 2, 3, 4, 5, 6, 7, 8, 9A, 10B, 12B |
| Option 3 | 0153-0105-0100 | 1 | TE-6K-MD Pump Less Motor (NEMA Motor Bracket and IEC Drive Magnet) Items: 1A, 2, 3, 4, 5, 6, 7, 8, 9B, 10A, 11A, 12A |
| Option 4 | 0153-0106-0100 | 1 | TE-6K-MD Pump Less Motor (IEC Motor Bracket and IEC Drive Magnet) Items: 1B, 2, 3, 4, 5, 6, 7, 8, 9B, 10B, 12B |
| 1A | 0153-0064-1000 | 6 | 1/4"-20 x 1-3/4" Long Screw (Stainless) |
| 1B | Not Supplied by March | 6 | M6 x 40 Screw |
| 2 | 0155-0021-1000 | 1/4" ID x 1/2" OD Washer (Stainless) | |
| 3 | 0153-0042-1000 | 1 | Front Housing with 1” FPT Inlet & 3/4" MPT Outlet (Glass Filled Kynar) |
| 4 | 0153-0015-1000 | 1 | 3/32" CS x 4-7/16” ID “O” Ring (Viton) |
| 5 | 0155-0009-1000 | 1 | Thrust Washer (Ceramic) |
| 6 | 0153-0007-1000 | 1 | Shaft (Ceramic) |
| 7 | 0153-0043-0500 | 1 | Impeller with Carbon Bushing (Carbon Filled Kynar) |
| 8 | 0153-0041-0100 | 1 | Rear Housing with Ceramic Thrust Washer (Glass Filled Kynar) |
| 9A | 0153-0035-0100 | 1 | Drive Magnet (0.625 Inch Bore) for NEMA Motor |
| 9B | 0153-0035-0200 | 1 | Drive Magnet (14 MM Bore) for IEC Motor |
| 10A | 0155-0017-1000 | 4 | 3/8-16 x 3/4" Long Screw (Stainless) |
| 10B | Not Supplied by March | 4 | M6 x 16 Screw |
| 11A | 0155-0019-1000 | 4 | 3/8" ID x 5/8" OD Washer (Stainless) |
| 12A | 0153-0093-0010 | 1 | NEMA Motor Bracket (Noryl) |
| 12B | 0153-0071-1000 | 1 | IEC Motor Bracket (Plastic) |
| NEMA Motor | Not Supplied by March | 1 | 56C with Feet, 1.38 Inch Shaft Length and 0.625 Inch Diameter |
| IEC Motor | Not Supplied by March | 1 | 71 Frame, B3 Feet and B14 Face, 35MM Shaft Length and 14MM Diameter |
| Minimum HP: 0.5 for 50Hz and 60Hz, Minimum KW 0.372 for 50Hz and 60Hz | |||
| Motor should be soft starting. |
TE-7P-MD Pump Less Motor

| Item | Part Number | Qty | Description |
|---|---|---|---|
| Option 1 | 0155-0265-0100 | 1 | TE-7P-MD Pump Less Motor (NEMA Motor Bracket and NEMA Drive Magnet) Items: 1A, 2A, 3, 4, 5, 6, 7, 8, 9A, 10A, 11A, 12 |
| Option 2 | 0155-0266-0100 | 1 | TE-7P-MD Pump Less Motor (IEC Motor Bracket and NEMA Drive Magnet) Items: 1B, 2B, 3, 4, 5, 6, 7, 8, 9A, 10B ,11B |
| Option 3 | 0155-0267-0100 | 1 | TE-7P-MD Pump Less Motor (NEMA Motor Bracket and IEC Drive Magnet) Items: 1A, 2A, 3, 4, 5, 6, 7, 8, 9B, 10A, 11A, 12 |
| Option 4 | 0155-0268-0100 | 1 | TE-7P-MD Pump Less Motor (IEC Motor Bracket and IEC Drive Magnet) Items: 1B, 2B, 3, 4, 5, 6, 7, 8, 9B, 10B, 11B |
| 1A | 0155-0014-1000 | 6 | 1/4"-20 x 2" Long Screw (Stainless) |
| 1B | Not Supplied by March | 6 | M6 x 50 Screw |
| 2 | 0155-0021-1000 | 6 | 1/4" ID x 1/2" OD Washer (Stainless) |
| 3 | 0155-0011-1000 | 1 | Front Housing (Polypropylene) |
| 4 | 0155-0010-1000 | 1 | 1/8" CS x 4-3/8" OD "O" Ring (Viton) |
| 5 | 0155-0009-1000 | 1 | Thrust Washer (Ceramic) |
| 6 | 0155-0039-1000 | 1 | 4.070" Long Shaft (Ceramic) |
| 7 | 0155-0159-0500 | 1 | Impeller w/Teflon/Ryton/Carbon Bushing (Polypropylene) |
| 8 | 0155-0091-0100 | 1 | Rear Housing w/Ceramic Thrust Washer (Polyproylene) |
| 9A | 0155-0130-0200 | 1 | Drive Magnet (0.625 Inch Bore) for NEMA Motor |
| 9B | 0155-0131-0200 | 1 | Drive Magnet (14 MM Bore) for IEC Motor |
| 10A | 0155-0340-0100 | 1 | NEMA Motor Bracket (Noryl) |
| 10B | 0155-0184-1000 | 1 | IEC Motor Bracket (Plastic) |
| 11A | 0155-0017-1000 | 4 | 3/8”-16 x 3/4” Long Screw (Stainless) |
| 11B | Not Supplied by March | 4 | M6 X 16 Screw |
| 12 | 0155-0019-1000 | 4 | 3/8” ID x 5/8” OD Washer (Stainless) |
| NEMA Motor | Not Supplied by March | 1 | 56C with Feet, 1.5 Inch Shaft Length and 0.625 Inch Diameter |
| IEC Motor | Not Supplied by March | 1 | 71 Frame, B3 Feet and B14 Face, 38.1MM Shaft Length and 14MM Diameter |
| Minimum HP: 0.75 for 50Hz and 60Hz, Minimum KW 0.559 for 50Hz and 60Hz | |||
| Motor should be soft starting. |
TE-7K-MD Pump Less Motor

| Item | Part Number | Qty | Description |
|---|---|---|---|
| Option 1 | 0155-0269-0100 | 1 | TE-7K-MD Pump Less Motor (NEMA Motor Bracket and NEMA Drive Magnet) Items: 1A, 2A, 3, 4, 5, 6, 7, 8, 9A, 10A, 11A, 12 |
| Option 2 | 0155-0270-0100 | 1 | TE-7K-MD Pump Less Motor (IEC Motor Bracket and NEMA Drive Magnet) Items: 1B, 2B, 3, 4, 5, 6, 7, 8, 9A, 10B, 11B |
| Option 3 | 0155-0271-0100 | 1 | TE-7K-MD Pump Less Motor (NEMA Motor Bracket and IEC Drive Magnet) Items: 1A, 2A, 3, 4, 5, 6, 7, 8, 9B, 10A, 11A, 12 |
| Option 4 | 0155-0272-0100 | 1 | TE-7K-MD Pump Less Motor (IEC Motor Bracket and IEC Drive Magnet) Items: 1B, 2B, 3, 4, 5, 6, 7, 8, 9B, 10B, 11B |
| 1A | 0155-0014-1000 | 6 | 1/4"-20 x 2" Long Screw (Stainless) |
| 1B | Not Supplied by March | 6 | M6 x 50 Screw |
| 2 | 0155-0021-1000 | 6 | 1/4" ID x 1/2" OD Washer (Stainless) |
| 3 | 0155-0125-1000 | 1 | Front Housing (Glass Filled Kynar) |
| 4 | 0155-0010-1000 | 1 | 1/8" CS x 4-3/8" OD "O" Ring (Viton) |
| 5 | 0155-0009-1000 | 1 | Thrust Washer (Ceramic) |
| 6 | 0155-0039-1000 | 1 | 4.070" Long Shaft (Ceramic) |
| 7 | 0155-0160-0200 | 1 | Impeller w/Carbon Bushing (Glass Filled Kynar) |
| 8 | 0155-0124-0100 | 1 | Rear Housing w/Ceramic Thrust Washer (Glass Filled Kynar) |
| 9A | 0155-0130-0200 | 1 | Drive Magnet (0.625 Inch Bore) for NEMA Motor |
| 9B | 0155-0131-0200 | 1 | Drive Magnet (14 MM Bore) for IEC Motor |
| 10A | 0155-0340-0100 | 1 | NEMA Motor Bracket (Noryl) |
| 10B | 0155-0184-1000 | 1 | IEC Motor Bracket (Plastic) |
| 11A | 0155-0017-1000 | 4 | 3/8”-16 x 3/4” Long Screw (Stainless) |
| 11B | Not Supplied by March | 4 | M6 X 16 Screw |
| 12 | 0155-0019-1000 | 4 | 3/8” ID x 5/8” OD Washer (Stainless) |
| NEMA Motor | Not Supplied by March | 1 | 56C with Feet, 1.5 Inch Shaft Length and 0.625 Inch Diameter |
| IEC Motor | Not Supplied by March | 1 | 71 Frame, B3 Feet and B14 Face, 38.1MM Shaft Length and 14MM Diameter |
| Minimum HP: 0.75 for 50Hz and 60Hz, Minimum KW 0.559 for 50Hz and 60Hz | |||
| Motor should be soft starting. |
TE-7.5P-MD Pump Less Motor

| Item | Part Number | Qty | Description |
|---|---|---|---|
| Option 1 | 0156-0067-0100 | 1 | TE-7.5P-MD Pump Less Motor (NEMA Motor Bracket and NEMA Drive Magnet) Items: 1, 2, 3, 4, 5, 6, 7, 8, 9A, 10A, 11A, 12, 13 |
| Option 2 | 0156-0080-0100 | 1 | TE-7.5P-MD Pump Less Motor (IEC Motor Bracket and NEMA Drive Magnet) Items: 1, 2, 3, 4, 5, 6, 7, 8, 9A, 10B, 11B, 13 |
| Option 3 | 0156-0081-0100 | 1 | TE-7.5P-MD Pump Less Motor (NEMA Motor Bracket and IEC Drive Magnet) Items: 1, 2, 3, 4, 5, 6, 7, 8, 9B, 10A, 11A, 12, 13 |
| Option 4 | 0156-0076-0100 | 1 | TE-7.5P-MD Pump Less Motor (IEC Motor Bracket and IEC Drive Magnet) Items: 1, 2, 3, 4, 5, 6, 7, 8, 9B, 10B, 11B, 13 |
| 1 | 0153-0011-1000 | 8 | 1/4"-20 x 1-1/2" Long Screw (Stainless) |
| 2 | 0157-0023-1000 | 8 | 1/4" ID x 5/8" OD Washer (Stainless) |
| 3 | 0156-0060-1000 | 1 | Front Housing with 2” FPT Inlet & 1-1/2" MPT Outlet (Polypropylene) |
| 4 | 0156-0010-1000 | 1 | 0.157” CS x 6.457” ID “O” Ring (Viton) |
| 5 | 0156-0016-1000 | 2 | Front & Rear Thrust Washer (Ceramic) |
| 6 | 0156-0007-1000 | 1 | Shaft (Ceramic) |
| 7 | 0156-0064-0200 | 1 | Impeller with Carbon Bushings (Polypropylene) |
| 8 | 0156-0061-1000 | 1 | Rear Housing (Polypropylene) |
| 9A | 0156-0009-0100 | 1 | Drive Magnet (0.875 Inch Bore) for NEMA Motor |
| 9B | 0156-0040-0100 | 1 | Drive Magnet (24MM Bore) for IEC Motor |
| 10A | 0156-0067-0100 | 1 | NEMA Motor Bracket (Aluminum) |
| 10B | 0156-0074-0010 | 1 | IEC Motor Bracket (Cast Iron) |
| 11A | 0155-0017-1000 | 4 | 3/8"-16 x 1" Long Screw (Stainless) |
| 11B | Not Supplied by March | 4 | M12 x 20 Screw |
| 12 | 0155-0019-1000 | 4 | 3/8" ID x 5/8" OD Washer (Stainless) |
| 13 | 0156-0053-1000 | 8 | 1/4"-20 Hex Nut (Stainless) |
| NEMA Motor | Not Supplied by March | 1 | 143TC, 145TC, 182C, or 184C Frame, with Feet, 2.12 Inch Shaft Length and 0.875 Inch Diameter. Also requires Motor Rails. |
| IEC Motor | Not Supplied by March | 1 | 90S or 90L Frame, B3 Feet and B5 Face, 50MM Shaft Length and 24MM Diameter. Also requires Motor Rails. |
| Minimum HP: 2 for 60Hz and 1.5 for 50Hz, Minimum KW 1.491 for 60Hz and 1.118 for 50Hz | |||
| Motor should be soft starting. |
TE-7.5K-MD Pump Less Motor

| Item | Part Number | Qty | Description |
|---|---|---|---|
| Option 1 | 0156-0051-0100 | 1 | TE-7.5K-MD Pump Less Motor (NEMA Motor Bracket and NEMA Drive Magnet) Items: 1, 2, 3, 4, 5, 6, 7, 8, 9A, 10A, 11A, 12, 13 |
| Option 2 | 0156-0078-0100 | 1 | TE-7.5K-MD Pump Less Motor (IEC Motor Bracket and NEMA Drive Magnet) Items: 1, 2, 3, 4, 5, 6, 7, 8, 9A, 10B, 11B, 13 |
| Option 3 | 0156-0079-0100 | 1 | TE-7.5K-MD Pump Less Motor (NEMA Motor Bracket and IEC Drive Magnet) Items: 1, 2, 3, 4, 5, 6, 7, 8, 9B, 10A, 11A, 12, 13 |
| Option 4 | 0156-0077-0100 | 1 | TE-7.5K-MD Pump Less Motor (IEC Motor Bracket and IEC Drive Magnet) Items: 1, 2, 3, 4, 5, 6, 7, 8, 9B, 10B, 11B, 13 |
| 1 | 0153-0011-1000 | 8 | 1/4"-20 x 1-1/2" Long Screw (Stainless) |
| 2 | 0157-0023-1000 | 8 | 1/4" ID x 5/8" OD Washer (Stainless) |
| 3 | 0156-0001-1000 | 1 | Front Housing with 2” FPT Inlet & 1-1/2" MPT Outlet (Natural Kynar) |
| 4 | 0156-0010-1000 | 1 | 0.157” CS x 6.457” ID “O” Ring (Viton) |
| 5 | 0156-0016-1000 | 2 | Front & Rear Thrust Washer (Ceramic) |
| 6 | 0156-0007-1000 | 1 | Shaft (Ceramic) |
| 7 | 0156-0004-0200 | 1 | Impeller with Carbon Bushings (Natural Kynar) |
| 8 | 0156-0002-1000 | 1 | Rear Housing (Natural Kynar) |
| 9A | 0156-0009-0100 | 1 | Drive Magnet (0.875 Inch Bore) for NEMA Motor |
| 9B | 0156-0040-0100 | 1 | Drive Magnet (24MM Bore) for IEC Motor |
| 10A | 0156-0067-0100 | 1 | NEMA Motor Bracket (Aluminum) |
| 10B | 0156-0074-0010 | 1 | IEC Motor Bracket (Cast Iron) |
| 11A | 0155-0017-1000 | 4 | 3/8"-16 x 1" Long Screw (Stainless) |
| 11B | Not Supplied by March | 4 | M12 x 20 Screw |
| 12 | 0155-0019-1000 | 4 | 3/8" ID x 5/8" OD Washer (Stainless) |
| 13 | 0156-0053-1000 | 8 | 1/4"-20 Hex Nut (Stainless) |
| NEMA Motor | Not Supplied by March | 1 | 143TC, 145TC, 182C, or 184C Frame, with Feet, 2.12 Inch Shaft Length and 0.875 Inch Diameter. Also requires Motor Rails. |
| IEC Motor | Not Supplied by March | 1 | 90S or 90L Frame, B3 Feet and B5 Face, 50MM Shaft Length and 24MM Diameter. Also requires Motor Rails. |
| Minimum HP: 2 for 60Hz and 1.5 for 50Hz, Minimum KW 1.491 for 60Hz and 1.118 for 50Hz | |||
| Motor should be soft starting. |
TE-8C-MD Pump Less Motor

| Item | Part Number | Qty | Description |
|---|---|---|---|
| Option 1 | 0157-0095-0100 | 1 | TE-8C-MD Pump Less Motor (NEMA Motor Bracket and NEMA Drive Magnet) Items: 1, 2, 3, 4, 5, 6, 7, 8, 9, 10A, 11A, 12, 13A |
| Option 2 | 0157-0119-0100 | 1 | TE-8C-MD Pump Less Motor (IEC Motor Bracket and NEMA Drive Magnet) Items: 1, 2, 3, 4, 5, 6, 7, 8, 9, 10A, 11B, 13B |
| Option 3 | 0157-0120-0100 | 1 | TE-8C-MD Pump Less Motor (NEMA Motor Bracket and IEC Drive Magnet) Items: 1, 2, 3, 4, 5, 6, 7, 8, 9, 10B, 11A, 12, 13A |
| Option 4 | 0157-0117-0100 | 1 | TE-8C-MD Pump Less Motor (IEC Motor Bracket and IEC Drive Magnet) Items: 1, 2, 3, 4, 5, 6, 7, 8, 9 10B, 11B, 13B |
| 1 | 0157-0014-1000 | 8 | 1/4"-20 x 1" Long Screw (Stainless) |
| 2 | 0157-0023-1000 | 8 | 1/4" ID x 5/8" OD Washer (Stainless) |
| 3 | 0157-0007-1000 | 1 | Pump Housing with 2” MPT Inlet & 1-1/2" MPT Outlet (Polypropylene) |
| 4 | 0157-0011-1000 | 1 | 0.157” CS x 7.244” ID “O” Ring (Viton) |
| 5 | 0157-0001-1000 | 1 | Front Thrust Washer (Ceramic) |
| 6 | 0157-0099-1000 | 1 | 3 Flats Shaft (Ceramic) |
| 7 | 0157-0004-0200 | 1 | Impeller with Ryton Bushing (Polypropylene) |
| 8 | 0157-0009-1000 | 1 | Rear Thrust Washer (Ceramic) |
| 9 | 0157-0006-1000 | 1 | Rear Housing (Polypropylene) |
| 10A | 0157-0005-0100 | 1 | Drive Magnet (1.125 Inch Bore) for NEMA Motor |
| 10B | 0157-0091-0100 | 1 | Drive Magnet (24MM Bore) for IEC Motor |
| 11A | 0160-0031-1000 | 4 | 1/2"-13 x 1" Long Screw (Stainless) |
| 11B | Not Supplied by March | 4 | M12 x 25 Screw |
| 12 | 0160-0032-1000 | 4 | 1/2" ID x 1-1/4" OD Washer (Stainless) |
| 13A | 0157-0008-0010 | 1 | NEMA Motor Bracket (Ductile Iron) |
| 13B | 0157-0100-0000 | 1 | IEC Motor Bracket (Plastic) |
| NEMA Motor | Not Supplied by March | 1 | 182TC, 184TC, 213C, or 215C Frame, with Feet, 2.625 Inch Shaft Length and 1.125 Inch Diameter |
| IEC Motor | Not Supplied by March | 1 | 90 Frame, B3 Feet and B5 Face, 50MM Shaft Length and 24MM Diameter. Also requires Motor Rails. |
| Minimum HP: 3 for 60Hz and 2 for 50Hz, Minimum KW 2.237 for 60Hz and 1.491 for 50Hz | |||
| Motor should be soft starting. |
TE-8K-MD Pump Less Motor

| Item | Part Number | Qty | Description |
|---|---|---|---|
| Option 1 | 0157-0096-0100 | 1 | TE-8K-MD Pump Less Motor (NEMA Motor Bracket and NEMA Drive Magnet) Items: 1, 2, 3, 4, 5, 6, 7, 8, 9, 10A, 11A, 12, 13A |
| Option 2 | 0157-0121-0100 | 1 | TE-8K-MD Pump Less Motor (IEC Motor Bracket and NEMA Drive Magnet) Items: 1, 2, 3, 4, 5, 6, 7, 8, 9, 10A, 11B, 13B |
| Option 3 | 0157-0122-0100 | 1 | TE-8K-MD Pump Less Motor (NEMA Motor Bracket and IEC Drive Magnet) Items: 1, 2, 3, 4, 5, 6, 7, 8, 9, 10B, 11A, 12, 13A |
| Option 4 | 0157-0123-0100 | 1 | TE-8K-MD Pump Less Motor (IEC Motor Bracket and IEC Drive Magnet) Items: 1, 2, 3, 4, 5, 6, 7, 8, 9 10B, 11B, 13B |
| 1 | 0157-0014-1000 | 8 | 1/4"-20 x 1" Long Screw (Stainless) |
| 2 | 0157-0023-1000 | 8 | 1/4" ID x 5/8" OD Washer (Stainless) |
| 3 | 0157-0052-1000 | 1 | Pump Housing with 2” MPT Inlet & 1-1/2" MPT Outlet (Glass Filled Kynar) |
| 4 | 0157-0011-1000 | 1 | 0.157” CS x 7.244” ID “O” Ring (Viton) |
| 5 | 0157-0001-1000 | 1 | Front Thrust Washer (Ceramic) |
| 6 | 0157-0099-1000 | 1 | 3 Flats Shaft (Ceramic) |
| 7 | 0157-0050-0500 | 1 | Impeller with Carbon Bushing (Glass Filled Kynar) |
| 8 | 0157-0009-1000 | 1 | Rear Thrust Washer (Ceramic) |
| 9 | 0157-0053-1000 | 1 | Rear Housing (Glass Filled Kynar) |
| 10A | 0157-0005-0100 | 1 | Drive Magnet (1.125 Inch Bore) for NEMA Motor |
| 10B | 0157-0091-0100 | 1 | Drive Magnet (24MM Bore) for IEC Motor |
| 11A | 0160-0031-1000 | 4 | 1/2"-13 x 1" Long Screw (Stainless) |
| 11B | Not Supplied by March | 4 | M12 x 25 Screw |
| 12 | 0160-0032-1000 | 4 | 1/2" ID x 1-1/4" OD Washer (Stainless) |
| 13A | 0157-0008-0010 | 1 | NEMA Motor Bracket (Ductile Iron) |
| 13B | 0157-0100-0000 | 1 | IEC Motor Bracket (Plastic) |
| NEMA Motor | Not Supplied by March | 1 | 182TC, 184TC, 213C, or 215C Frame, with Feet, 2.625 Inch Shaft Length and 1.125 Inch Diameter |
| IEC Motor | Not Supplied by March | 1 | 90 Frame, B3 Feet and B5 Face, 50MM Shaft Length and 24MM Diameter. Also requires Motor Rails. |
| Minimum HP: 3 for 60Hz and 2 for 50Hz, Minimum KW 2.237 for 60Hz and 1.491 for 50Hz | |||
| Motor should be soft starting. |
TE-10P-MD Pump Less Motor

| Item | Part Number | Qty | Description |
|---|---|---|---|
| Option 1 | 0161-0064-0100 | 1 | TE-10P-MD Pump Less Motor (NEMA Motor Bracket and NEMA Drive Magnet) Items: 1, 2, 3, 4, 5, 6, 7, 8, 9A, 10A, 11A |
| Option 2 | 0161-0067-0100 | 1 | TE-10P-MD Pump Less Motor (IEC Motor Bracket and NEMA Drive Magnet) Items: 1, 2, 3, 4, 5, 6, 7, 8, 9A, 10B, 11B |
| Option 3 | 0161-0068-0100 | 1 | TE-10P-MD Pump Less Motor (NEMA Motor Bracket and IEC Drive Magnet) Items: 1, 2, 3, 4, 5, 6, 7, 8, 9B, 10A, 11A |
| Option 4 | 0161-0062-0100 | 1 | TE-10P-MD Pump Less Motor (IEC Motor Bracket and IEC Drive Magnet) Items: 1, 2, 3, 4, 5, 6, 7, 8, 9B, 10B, 11B |
| 1 | 0160-0029-1000 | 9 | 5/16”-18 x 1-3/4” Long Screw (Stainless) |
| 2 | 0160-0030-1000 | 9 | 5/16” ID x 5/8” OD Washer (Stainless) |
| 3 | 0161-0056-1000 | 1 | Pump Housing with 3" MPT Inlet & 2" MPT Outlet (Polypropylene) |
| 4 | 0161-0043-1000 | 1 | 9.750” ID x 10” OD Gasket (Viton) |
| 5 | 0161-0001-1000 | 2 | Front & Rear Thrust Washer (Ceramic) |
| 6 | 0161-0002-1000 | 1 | Shaft (Ceramic) |
| 7 | 0161-0053-0300 | 1 | Impeller w/Carbon Bushings (Polypropylene) |
| 8 | 0161-0057-1000 | 1 | Rear Housing (Polypropylene) |
| 9A | 0161-0031-0100 | 1 | Drive Magnet (1.375 Inch Bore) for NEMA Motor |
| 9B | 0161-0031-0200 | 1 | Drive Magnet (38 MM Bore) for IEC Motor |
| 10A | 0161-0007-0010 | 1 | NEMA Motor Bracket (Metal) |
| 10B | 0161-0048-0100 | 1 | IEC Motor Bracket (Metal) |
| 11A | 0160-0031-1000 | 4 | 1/2"-13 x 1" Long Screw (Stainless) |
| 11B | Not Supplied by March | 4 | Screw (Hexagon) M10 X 30 (DIN 933) Also suggested Washer 10.5 (DIN 125A) Spring Washer (DIN 127A) |
| NEMA Motor | Not Supplied by March | 1 | 213TC, 215TC, 254UC, or 256UC Frame, with Feet, 3.13 Inch Shaft Length and 1.375 Inch Diameter. Also requires Motor Rails. |
| IEC Motor | Not Supplied by March | 1 | 132 Frame, B3 Feet and B14 Face, 79.5MM Shaft Length and 38MM Diameter. Also requires Motor Rails. |
| Minimum HP: 10 for 60Hz and 7.5 for 50Hz, Minimum KW 7.457 for 60Hz and 5.592 for 50Hz | |||
| Motor should be soft starting. |
TE-10K-MD Pump Less Motor

| Item | Part Number | Qty | Description |
|---|---|---|---|
| Option 1 | 0161-0036-0100 | 1 | TE-10K-MD Pump Less Motor (NEMA Motor Bracket and NEMA Drive Magnet) Items: 1, 2, 3, 4, 5, 6, 7, 8, 9A, 10A, 11A |
| Option 2 | 0161-0066-0100 | 1 | TE-10K-MD Pump Less Motor (IEC Motor Bracket and NEMA Drive Magnet) Items: 1, 2, 3, 4, 5, 6, 7, 8, 9A, 10B, 11B |
| Option 3 | 0161-0050-0100 | 1 | TE-10K-MD Pump Less Motor (NEMA Motor Bracket and IEC Drive Magnet) Items: 1, 2, 3, 4, 5, 6, 7, 8, 9B, 10A, 11A |
| Option 4 | 0161-0065-0100 | 1 | TE-10K-MD Pump Less Motor (IEC Motor Bracket and IEC Drive Magnet) Items: 1, 2, 3, 4, 5, 6, 7, 8, 9B, 10B, 11B |
| 1 | 0160-0029-1000 | 9 | 5/16”-18 x 1-3/4” Long Screw (Stainless) |
| 2 | 0160-0030-1000 | 9 | 5/16” ID x 5/8” OD Washer (Stainless) |
| 3 | 0161-0008-1000 | 1 | Pump Housing with 3" MPT Inlet & 2" MPT Outlet (Kynar) |
| 4 | 0161-0043-1000 | 1 | 9.750” ID x 10” OD Gasket (Viton) |
| 5 | 0161-0001-1000 | 2 | Front & Rear Thrust Washer (Ceramic) |
| 6 | 0161-0002-1000 | 1 | Shaft (Ceramic) |
| 7 | 0161-0005-0400 | 1 | Impeller w/Carbon Bushings (Glass Filled Kynar) |
| 8 | 0161-0009-1000 | 1 | Rear Housing (Kynar) |
| 9A | 0161-0031-0100 | 1 | Drive Magnet (1.375 Inch Bore) for NEMA Motor |
| 9B | 0161-0031-0200 | 1 | Drive Magnet (38 MM Bore) for IEC Motor |
| 10A | 0161-0007-0010 | 1 | NEMA Motor Bracket (Metal) |
| 10B | 0161-0048-0100 | 1 | IEC Motor Bracket (Metal) |
| 11A | 0160-0031-1000 | 4 | 1/2"-13 x 1" Long Screw (Stainless) |
| 11B | Not Supplied by March | 4 | Screw (Hexagon) M10 X 30 (DIN 933) Also suggested Washer 10.5 (DIN 125A) Spring Washer (DIN 127A) |
| NEMA Motor | Not Supplied by March | 1 | 213TC, 215TC, 254UC, or 256UC Frame, with Feet, 3.13 Inch Shaft Length and 1.375 Inch Diameter. Also requires Motor Rails. |
| IEC Motor | Not Supplied by March | 1 | 132 Frame, B3 Feet and B14 Face, 79.5MM Shaft Length and 38MM Diameter. Also requires Motor Rails. |
| Minimum HP: 10 for 60Hz and 7.5 for 50Hz, Minimum KW 7.457 for 60Hz and 5.592 for 50Hz | |||
| Motor should be soft starting. |
335-CP Pump Less Motor

| Item | Part Number | Qty | Description |
|---|---|---|---|
| Option 1 | 0335-0020-0100 | 1 | 335-CP-MD Pump Less Motor (NEMA Motor Bracket and NEMA Drive Magnet) Items: 1, 2, 3, 4, 5, 6, 7, 8, 9A, 10, 11, 12, 13 |
| 1 | 0153-0011-1000 | 6 | 1/4"-20 x 1-1/2" Long Screw (Stainless) |
| 2 | 0157-0023-1000 | 6 | 1/4" ID x 5/8" OD Washer (Stainless) |
| 3 | 0335-0002-1000 | 1 | Front Housing with 3/4" MPT Inlet & Outlet (Polypropylene) |
| 4 | 0335-0009-1000 | 1 | 1/8" CS x 5" ID "O" Ring (Viton) |
| 5 | 0821-0079-1000 | 1 | Thrust Washer (Ceramic) |
| 6 | 0130-0024-1000 | 1 | Shaft (Ceramic) |
| 7 | 0335-0005-0200 | 1 | Impeller (Polypropylene) |
| 8 | 0335-0004-0100 | 1 | Rear Housing with Ceramic Thrust Washer (Polypropylene) |
| 9A | 0335-0019-0000 | 1 | Drive Magnet (0.625 Inch Bore) for NEMA Motor *This Drive Magnet will not fit on motor supplied by March |
| 9B | 0335-0017-0000 | 1 | Drive Magnet (0.375 Inch Bore) for NEMA Motor *This Drive Magnet is used when the motor is supplied by March |
| 10 | 0155-0017-1000 | 4 | 3/8"-16 x 3/4" Long Screw (Stainless) |
| 11 | 0155-0019-1000 | 4 | 3/8" ID x 5/8" OD Washer (Stainless) |
| 12 | 0335-0010-1000 | 1 | NEMA Motor Bracket (Plastic) |
| 13 | 0156-0053-1000 | 6 | 1/4"-20 Hex Nut |
| NEMA Motor | Not Supplied by March | 1 | 56C Frame, with Feet, 0.88 Inch Shaft Length and 0.625 Inch Diameter |
| Minimum HP: 0.33 for 60Hz and 50Hz, Minimum KW 0.246 for 60Hz and 50Hz | |||
| Motor should be soft starting. |