AC-5SSB-MD Magnetic Drive Pump
March Pump’s AC-5SSB-MD Beer Pump is an American seal-less centrifugal magnetic drive pump ideal for homebrewing. It is capable of generating a maximum flow of 17 gallons per minute at 1 foot, and its maximum head is 27 Feet (11PSI).
| Unit System |
60Hz US |
Metric |
|---|---|---|
| Max Flow | 17 GPM | 60 LPM |
| Max Head | 27 FT | 6 M |
| Power | 0.125 HP | .093 KW |
| 50Hz US |
Metric |
| 15.9 GPM | 64.4 LPM |
| 19.7 FT | 8.2 M |
| 0.125 HP | .093 KW |
- Wet End: Polysulfone (Impeller), 316 Stainless Steel (Front and Rear Housing, Magnet Shell, Shaft), Buna N (O-Ring), Ceramic (Thrust Washers), Carbon (Bushing)
- Max Internal Pressure: 200 PSI / 13.7 bar
- Max Liquid Temperature: 250 °F / 121 °C
- Materials are FDA Food Compliant: Components are UL Recognized
- Note: Product image may be different than actual product received.
Pump Curves & General Installation Sheets
Part Numbers
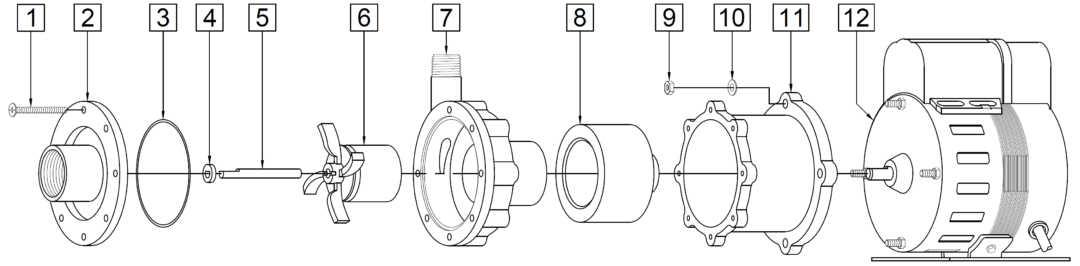
Parts Breakdown
Options
Dimensional Drawings
Motor Information
Great for Chemicals Including
The AC-5SSB-MD Beer Pump has pumped Hot Water and Hot Wort. The AC-5SSB-MD Beer Pump may have been modified to handle these chemicals. This pump may have to be modified to pump specific gravities, viscosities, or elevated temperatures different then ambient water. Please contact March Pump to review your application before using the AC-5SSB-MD Beer Pump for any of the above listed chemicals.
Summary Paragraph
March Pump’s AC-5SSB-MD Beer Pump is an American seal-less centrifugal magnetic drive pump ideal for homebrewing. It is capable of generating a maximum flow of 17 gallons per minute at 1 foot, and its maximum head is 27 Feet (11PSI). The standard wet end (the materials that come into contact with the solution) is composed of Stainless Steel, Polysulfone, Buna N, Ceramic, and Ceramic Magnet. The inlet connection is 1 inch female pipe thread, and the outlet is 1/2 inch male pipe thread. The standard motor is a 1 Phase 115V or 230V 0.125 Horsepower fan cooled motor, which can be run on either 50 or 60 hertz (there are performance differences between the hertz options). The maximum internal pressure the pump can tolerate is 200PSI, and the maximum liquid temperature is 250 Fahrenheit or 121 Celsius. To determine if the March AC-5SSB-MD Beer Pump is suitable for your application, please contact March Pump.
WARNING: Risk of cancer and reproductive harm from exposure to Lead. See www.P65Warnings.ca.gov.
Request Additional Product Info
Information on this website may contain technical inaccuracies or typographical errors. Information may be changed or updated without notice. March may also make improvements and/or changes in the products described in this information at any time without notice.
Warranty: March Manufacturing Inc. Warranty and Warranty Registration
WARNING: Cancer and
Reproductive Harm - www.p65warnings.ca.gov
