AC-1A-MD-1/2 Mag Drive Pump
March Pump’s industrial AC-1A-MD-1/2 is an American seal-less centrifugal magnetic drive pump ideal for applications such as chemical recirculation and chemical transfer. It is capable of generating a maximum flow of 3 gallons per minute at 0.25 feet, and its maximum head is 4.6 Feet (2PSI).
| Unit System |
60Hz US |
Metric |
|---|---|---|
| Max Flow | 3 GPM | 11.3 LPM |
| Max Head | 4.6 FT | 1.4 M |
| Power | 0.005 HP | 0.003 KW |
| 50Hz US |
Metric |
| 2.3 GPM | 9 LPM |
| 3.3 FT | 1 M |
| 0.005 HP | 0.003 KW |
- Wet End: Polypropylene (Front Housing, Rear Housing, Impeller), Buna N (O-Ring), Carbon/Teflon (Thrust Washer), 316 Stainless Steel (Shaft)
- Max Internal Pressure: 50 PSI / 3.4 bar
- Max Liquid Temperature: 190 °F / 87 °C
- Note: Product image may be different than actual product received.
Pump Curves & General Installation Sheets
Part Numbers
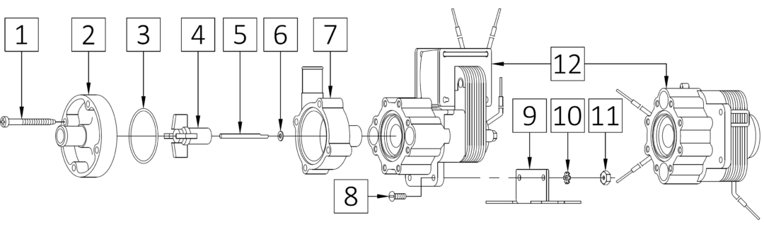
Parts Breakdown
Options
Dimensional Drawings
Motor Information
Perfect for Applications Including
Applications for the AC-1A-MD-1/2 Magnetic Drive Pump include chemical transfer, photographic processing equipment, refrigeration systems, and water displays.
Great for Chemicals Including
The AC-1A-MD-1/2 has pumped Acetone, Ammonium Chloride, Ammonium Chloride, Ammonium Hydroxide, Citric Acid, Ethylene Glycol, Magnesium Nitrate, Potassium Carbonate, Sodium Borate, Fresh Water, Salt Water, and many more chemicals. The AC-1A-MD-1/2 may have been modified to handle these chemicals. This pump may have to be modified to pump specific gravities, viscosities, or elevated temperatures different then ambient water. Please contact March Pump to review your application before using the AC-1A-MD-1/2. Chemical Resistance Chart
Summary Paragraph
March Pump’s industrial AC-1A-MD-1/2 is an American seal-less centrifugal magnetic drive pump ideal for applications such as chemical recirculation and chemical transfer. It is capable of generating a maximum flow of 3 gallons per minute at 0.25 feet, and its maximum head is 4.6 Feet (2PSI). The standard wet end (the materials that come into contact with the solution) is composed of Polypropylene, Buna N, Carbon/Teflon, and Stainless Steel. The inlet connection is 1/2 inch smooth, and the outlet is 1/2 inch smooth. The standard motor is a 1 Phase 115V or 230V 0.05 Horsepower motor, which can be run on 60 hertz on 115V or 50 and 60 hertz on 230V (there are performance differences between the hertz options). The maximum internal pressure the pump can tolerate is 50PSI, and the maximum liquid temperature is 190 Fahrenheit or 87 Celsius. The March AC-1A-MD-1/2 centrifugal magnetic drive pump is capable of handling mildly or highly corrosive chemicals, acids, and solvents. To determine if the March AC-1A-MD-1/2 is suitable for your application, please contact March Pump.
WARNING: Risk of cancer and reproductive harm from exposure to Lead. See www.P65Warnings.ca.gov.
Request Additional Product Info
Information on this website may contain technical inaccuracies or typographical errors. Information may be changed or updated without notice. March may also make improvements and/or changes in the products described in this information at any time without notice.
Warranty: March Manufacturing Inc. Warranty and Warranty Registration
WARNING: Cancer and
Reproductive Harm - www.p65warnings.ca.gov
