815-BR Magnetic Drive Pump
March Pump’s industrial 815-BR is an American seal-less centrifugal magnetic drive pump ideal for applications such as hot water systems. It is capable of generating a maximum flow of 7 gallons per minute at 5 feet, and its maximum head is 18.6 Feet (8PSI).
| Unit System |
60Hz US |
Metric |
|---|---|---|
| Max Flow | 7 GPM | 26.5 LPM |
| Max Head | 18.6 FT | 5.7 M |
| Power | 0.04 HP | 0.029 KW |
| 50Hz US |
Metric |
| 6 GPM | 22.7 LPM |
| 13.5 FT | 4.1 M |
| 0.04 HP | 0.029 KW |
- Wet End: Bronze (Front Housing), Stainless Steel (Rear Housing and Shaft), Teflon (Thrust Washer), Silicone (O-Ring), Ryton/Teflon/Glass (Impeller)
- Max Internal Pressure: 150 PSI / 10.3 bar
- Max Liquid Temperature: 250 °F / 121 °C
- Note: Product image may be different than actual product received.
Pump Curves & General Installation Sheets
Part Numbers
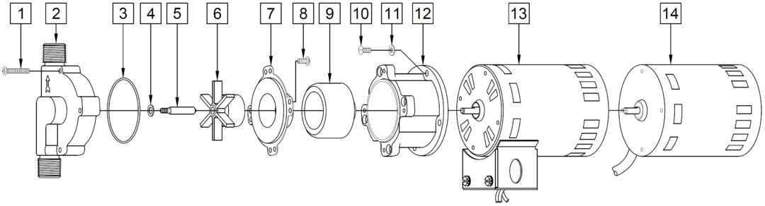
Parts Breakdown
Options
Dimensional Drawings
Motor Information
Perfect for Applications Including
Applications for the 815-BR Magnetic Drive Pump include hot water systems and solar heating.
Great for Chemicals Including
The 815-BR has pumped Cutting Oils, Ethylene Glycol, Hot Water and Salt Water. The 815-BR may have been modified to handle these chemicals. This pump may have to be modified to pump specific gravities, viscosities, or elevated temperatures different then ambient water. Please contact March Pump to review your application before using the 815-BR. Chemical Resistance Chart
Summary Paragraph
March Pump’s industrial 815-BR is an American seal-less centrifugal magnetic drive pump ideal for applications such as hot water systems. It is capable of generating a maximum flow of 7 gallons per minute at 5 feet, and its maximum head is 18.6 Feet (8PSI). The standard wet end (the materials that come into contact with the solution) is composed of Bronze, Stainless Steel, Teflon, Silicone and Ryton/Teflon/Glass. The inlet connection is 0.5 male pipe thread, and the outlet is 0.5 inch male pipe thread. The standard motor is a 1 Phase 115V or 230V 0.04 Horsepower fan cooled motor, which can be run on either 50 or 60 hertz (there are performance differences between the hertz options). The maximum internal pressure the pump can tolerate is 150PSI, and the maximum liquid temperature is 250 Fahrenheit or 121 Celsius. To determine if the March 815-BR is suitable for your application, please contact March Pump.
WARNING: Risk of cancer and reproductive harm from exposure to Lead. See www.P65Warnings.ca.gov.
Request Additional Product Info
Information on this website may contain technical inaccuracies or typographical errors. Information may be changed or updated without notice. March may also make improvements and/or changes in the products described in this information at any time without notice.
Warranty: March Manufacturing Inc. Warranty and Warranty Registration
WARNING: Cancer and
Reproductive Harm - www.p65warnings.ca.gov
