809-SS-C 12V & 24V Mag Drive Pump
March Pump’s industrial 809-SS-C 12V & 24V is an American seal-less centrifugal magnetic drive pump ideal for applications such as hot water systems. It is capable of generating a maximum flow of 6 gallons per minute at 1 foot, and its maximum head is 7 Feet (3PSI).
| System | US | Metric |
|---|---|---|
| Max Flow | 6 GPM | 22.7 LPM |
| Max Head | 7.1 FT | 2.1 M |
| Power | 0.01 HP | 0.007 KW |
- Wet End: Stainless Steel (Front and Rear Housing, Shaft), Teflon (Thrust Washer), Silicone (O-Ring), Ryton/Teflon/Glass (Impeller)
- Max Internal Pressure: 150 PSI / 10.3 bar
- Max Liquid Temperature: 250 °F / 121 °C
- Note: Product image may be different than actual product received.
Pump Curves & General Installation Sheets
Part Numbers
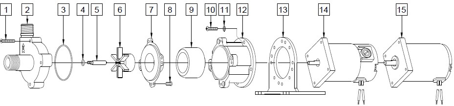
Parts Breakdown
Options
Dimensional Drawings
Motor Information
Perfect for Applications Including
Applications for the 809-SS-C 12V & 24V Magnetic Drive Pump include brewery systems, hot water systems and solar heating.
Great for Chemicals Including
The 809-SS-C 12V & 24V has pumped Cutting Oils, Ethylene Glycol, Wort, Hot Water and Salt Water. The 809-SS-C 12V & 24V may have been modified to handle these chemicals. This pump may have to be modified to pump specific gravities, viscosities, or elevated temperatures different then ambient water. Please contact March Pump to review your application before using the 809-SS-C 12V & 24V. Chemical Resistance Chart
Summary Paragraph
March Pump’s industrial 809-SS-C 12V & 24V is an American seal-less centrifugal magnetic drive pump ideal for applications such as hot water systems. It is capable of generating a maximum flow of 6 gallons per minute at 1 foot, and its maximum head is 7 Feet (3PSI). The standard wet end (the materials that come into contact with the solution) is composed of Stainless Steel, Teflon, Silicone and Ryton/Teflon/Glass. The inlet connection is 3/4 inch male pipe thread, and the outlet is 1/2 inch male pipe thread. The standard motor is a 0.01 Horsepower DC Brush Type Motor, available in 12 or 24 Volts. The 12 Volt motor has an operating range from 0 to 14 Volts, and the 24 Volt motor has an operating range from 0 to 26 Volts. The maximum internal pressure the pump can tolerate is 150PSI, and the maximum liquid temperature is 250 Fahrenheit or 121 Celsius. To determine if the March 809-SS-C 12V & 24V is suitable for your application, please contact March Pump.
WARNING: Risk of cancer and reproductive harm from exposure to Lead. See www.P65Warnings.ca.gov.
Request Additional Product Info
Information on this website may contain technical inaccuracies or typographical errors. Information may be changed or updated without notice. March may also make improvements and/or changes in the products described in this information at any time without notice.
Warranty: March Manufacturing Inc. Warranty and Warranty Registration
WARNING: Cancer and
Reproductive Harm - www.p65warnings.ca.gov
