2CP-MD Mag Drive Pump (Submersible Only)
March Pump’s industrial 2CP-MD is an American submersible seal-less centrifugal magnetic drive pump. It is capable of generating a maximum flow of 5 gallons per minute at 1 foot, and its maximum head is 13 Feet (5.5PSI). The 2CP-MD pump must be used submerged. The standard wet end (the materials that come into contact with the solution) is composed of Polypropylene, Viton, Stainless Steel, Ceramic, and Ceramic Magnet.
| Unit System |
60Hz US |
Metric |
|---|---|---|
| Max Flow | 5 GPM | 18.9 LPM |
| Max Head | 13 FT | 4 M |
| Power | 0.02 HP | 0.015 KW |
| 50Hz US |
Metric |
| 4.9 GPM | 18.5 LPM |
| 8.9 FT | 2.7 M |
| 0.018 HP | 0.014 KW |
- Wet End: Polypropylene (Front and Rear Housing, Impeller), Viton (O-Ring), Stainless Steel (Shaft), Ceramic (Thrust Washer), Ceramic Magnet
- Uses: Submersible Only
- When submerged, the following is also in contact with the solution: Epoxy, Buna N, Cord
- Max Internal Pressure: 50 PSI / 3.4 bar
- Max Internal Temperature: 130 °F / 54 °C
- Note: Product image may be different than actual product received.
Pump Curves & General Installation Sheets
Part Numbers
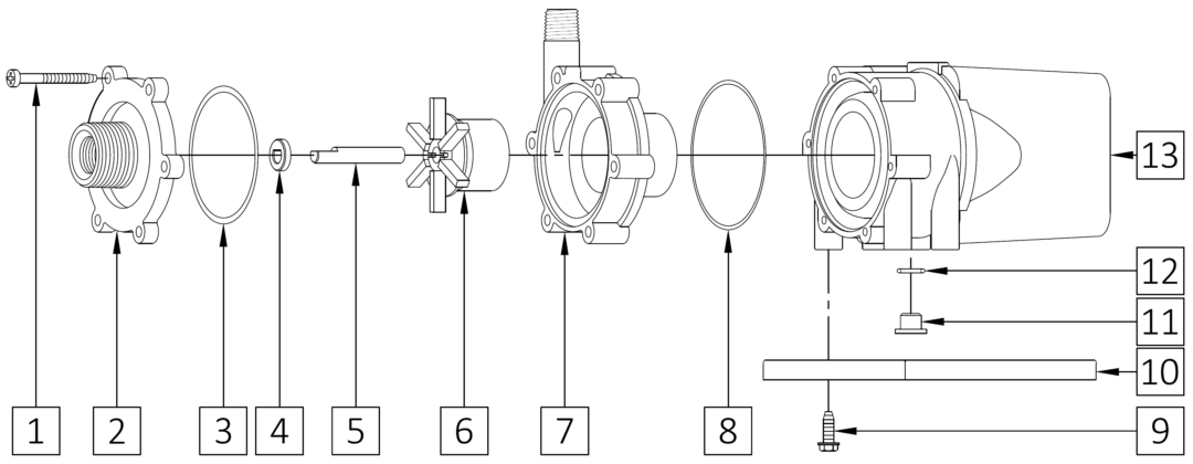
Parts Breakdown
Options
Dimensional Drawings
Motor Information
Perfect for Applications Including
The most common application for the 2CP-MD Magnetic Drive Pump is for marine air conditioning and fountains.
Great for Chemicals Including
The 2CP-MD has pumped Fresh Water and Salt Water. The 2CP-MD may have been modified to handle these chemicals. This pump may have to be modified to pump specific gravities, viscosities, or elevated temperatures different then ambient water. Please contact March Pump to review your application before using the 2CP-MD. Chemical Resistance Chart
Summary Paragraph
March Pump’s industrial 2CP-MD is an American submersible seal-less centrifugal magnetic drive pump. It is capable of generating a maximum flow of 5 gallons per minute at 1 foot, and its maximum head is 13 Feet (5.5PSI). The 2CP-MD pump must be used submerged. The standard wet end (the materials that come into contact with the solution) is composed of Polypropylene, Viton, Stainless Steel, Ceramic, and Ceramic Magnet. When submerged, Epoxy, Buna N, and the Cord are also in contact with the solution. The inlet connection is 3/8 inch female pipe thread and 3/4 inch male pipe thread, and the outlet is 1/4 inch male pipe thread. The standard motor is a 1 Phase 115V or 230V 0.02 Horsepower motor, which can be run on either 50 or 60 hertz (there are performance differences between the hertz options). The maximum internal pressure the pump can tolerate is 50PSI, and the maximum liquid temperature is 130 Fahrenheit or 54 Celsius. The March 2CP-MD centrifugal magnetic drive pump is capable of handling fresh water, salt water, and mild chemicals. To determine if the March 2CP-MD is suitable for your application, please contact March Pump.
WARNING: Risk of cancer and reproductive harm from exposure to Lead. See www.P65Warnings.ca.gov.
Request Additional Product Info
Information on this website may contain technical inaccuracies or typographical errors. Information may be changed or updated without notice. March may also make improvements and/or changes in the products described in this information at any time without notice.
Warranty: March Manufacturing Inc. Warranty and Warranty Registration
WARNING: Cancer and
Reproductive Harm - www.p65warnings.ca.gov
