1A-MD-1/2 Mag Drive Pump
March Pump’s industrial 1A-MD-1/2 is an American submersible seal-less centrifugal magnetic drive pump. It is capable of generating a maximum flow of 3 gallons per minute at 0.25 feet, and its maximum head is 4.5 Feet (2PSI). The 1A-MD-1/2 pump may be used submerged or not submerged.
| Unit System |
60Hz US |
Metric |
|---|---|---|
| Max Flow | 3 GPM | 11.3 LPM |
| Max Head | 4.6 FT | 1.4 M |
| Power | 0.005 HP | 0.003 KW |
| 50Hz US |
Metric |
| 2.3 GPM | 9 LPM |
| 3.3 FT | 1 M |
| 0.005 HP | 0.003 KW |
- Wet End: Polypropylene (Front Housing, Rear Housing, Impeller), Buna N (O-Ring), Carbon/Teflon (Thrust Washer), 316 Stainless Steel (Shaft)
- Uses: Submersible or Open Air
- When submerged, the following is also in contact with the solution: Epoxy, Noryl, SJT Cord
- Max Internal Pressure: 50 PSI / 3.4 bar
- Max Liquid Temperature: 190 °F / 87 °C Open Air or 160 °F / 71 °C Submerged
- Note: Product image may be different than actual product received.
Pump Curves & General Installation Sheets
Part Numbers
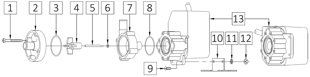
Parts Breakdown
Options
Dimensional Drawings
Motor Information
Perfect for Applications Including
Applications for the 1A-MD-1/2 Magnetic Drive Pump include chemical transfer, photographic processing equipment, refrigeration systems, and water displays.
Great for Chemicals Including
The 1A-MD-1/2 has pumped Acetone, Ammonium Chloride, Ammonium Chloride, Ammonium Hydroxide, Citric Acid, Ethylene Glycol, Magnesium Nitrate, Potassium Carbonate, Sodium Borate, Fresh Water, Salt Water, and many more chemicals. The 1A-MD-1/2 may have been modified to handle these chemicals. This pump may have to be modified to pump specific gravities, viscosities, or elevated temperatures different then ambient water. Please contact March Pump to review your application before using the 1A-MD-1/2. Chemical Resistance Chart
Summary Paragraph
March Pump’s industrial 1A-MD-1/2 is an American submersible seal-less centrifugal magnetic drive pump. It is capable of generating a maximum flow of 3 gallons per minute at 0.25 feet, and its maximum head is 4.5 Feet (2PSI). The 1A-MD-1/2 pump may be used submerged or not submerged. The standard wet end (the materials that come into contact with the solution) is composed of Polypropylene, Buna N, Nylon, Carbon/Teflon, and Stainless Steel. When submerged, Epoxy, Noryl, and the SJT Cord are also in contact with the solution. The inlet connection is 1/2 inch smooth, and the outlet is 1/2 inch smooth. The standard motor is a 1 Phase 115V or 230V 0.005 Horsepower motor, which can be run on either 50 or 60 hertz (there are performance differences between the hertz options). The maximum internal pressure the pump can tolerate is 50PSI, and the maximum liquid temperature is 190 Fahrenheit or 160 Celsius in open air, or 87 Fahrenheit or 71 Celsius if submerged. The March 1A-MD-1/2 centrifugal magnetic drive pump is capable of handling fresh water, salt water, and mild chemicals. To determine if the March 1A-MD-1/2 is suitable for your application, please contact March Pump.
WARNING: Risk of cancer and reproductive harm from exposure to Lead. See www.P65Warnings.ca.gov.
Request Additional Product Info
Information on this website may contain technical inaccuracies or typographical errors. Information may be changed or updated without notice. March may also make improvements and/or changes in the products described in this information at any time without notice.
Warranty: March Manufacturing Inc. Warranty and Warranty Registration
WARNING: Cancer and
Reproductive Harm - www.p65warnings.ca.gov
